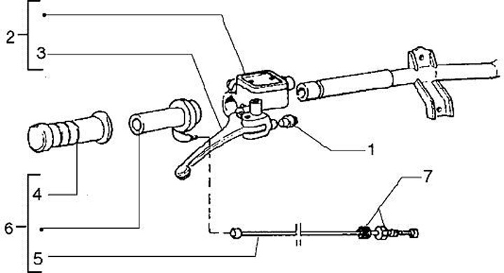
Huvudbromscylinder Höger
Piaggio Zip 50 SP1 (1996, ZAPC11000)
Sortera