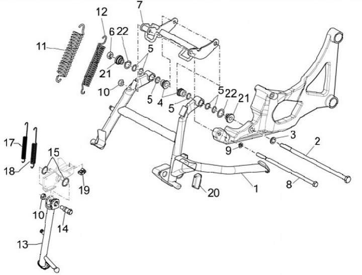
Huvudställ
Aprilia SRV 850 (2014, ZAPM55103)
Sortera