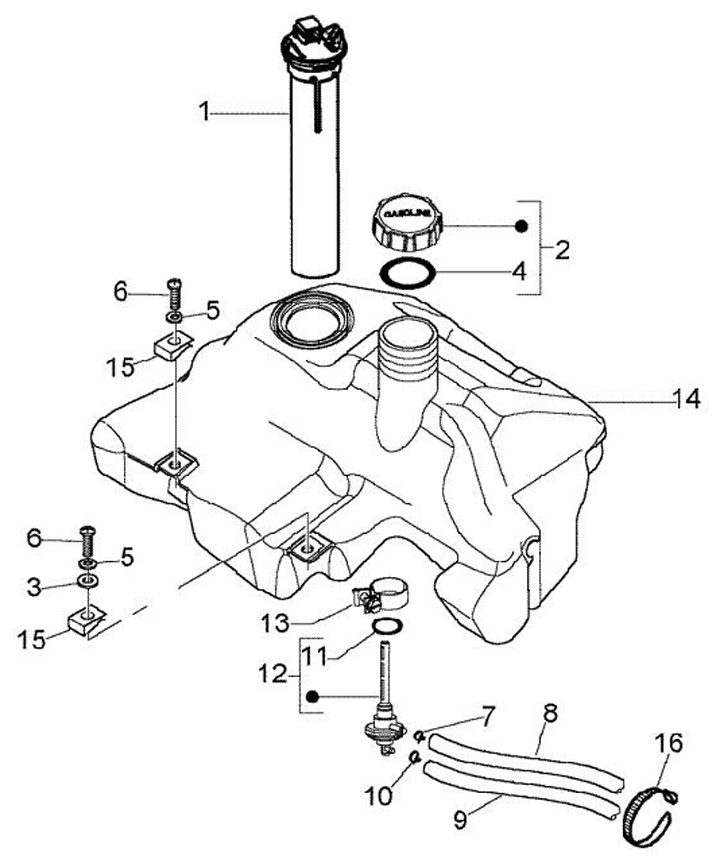
Depósito de combustible
Vespa LX 125 (2009, ZAPM44100)
Ordenar