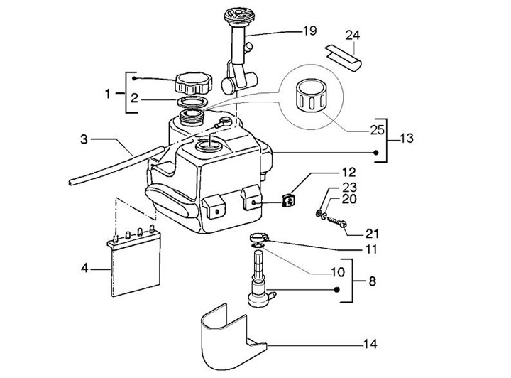
Bränsletank
Piaggio NRG 50 Purejet (2001-2004, ZAPC3200001)
Sortera