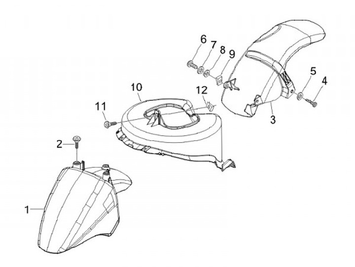
Hjulhus - Skärm
Piaggio Fly 150 (2005, ZAPM42200)
Sortera