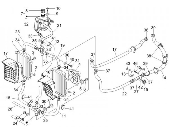
Kylare - Fläkt
Vespa GTV 250 (2008, ZAPM45102) Navy
Sortera