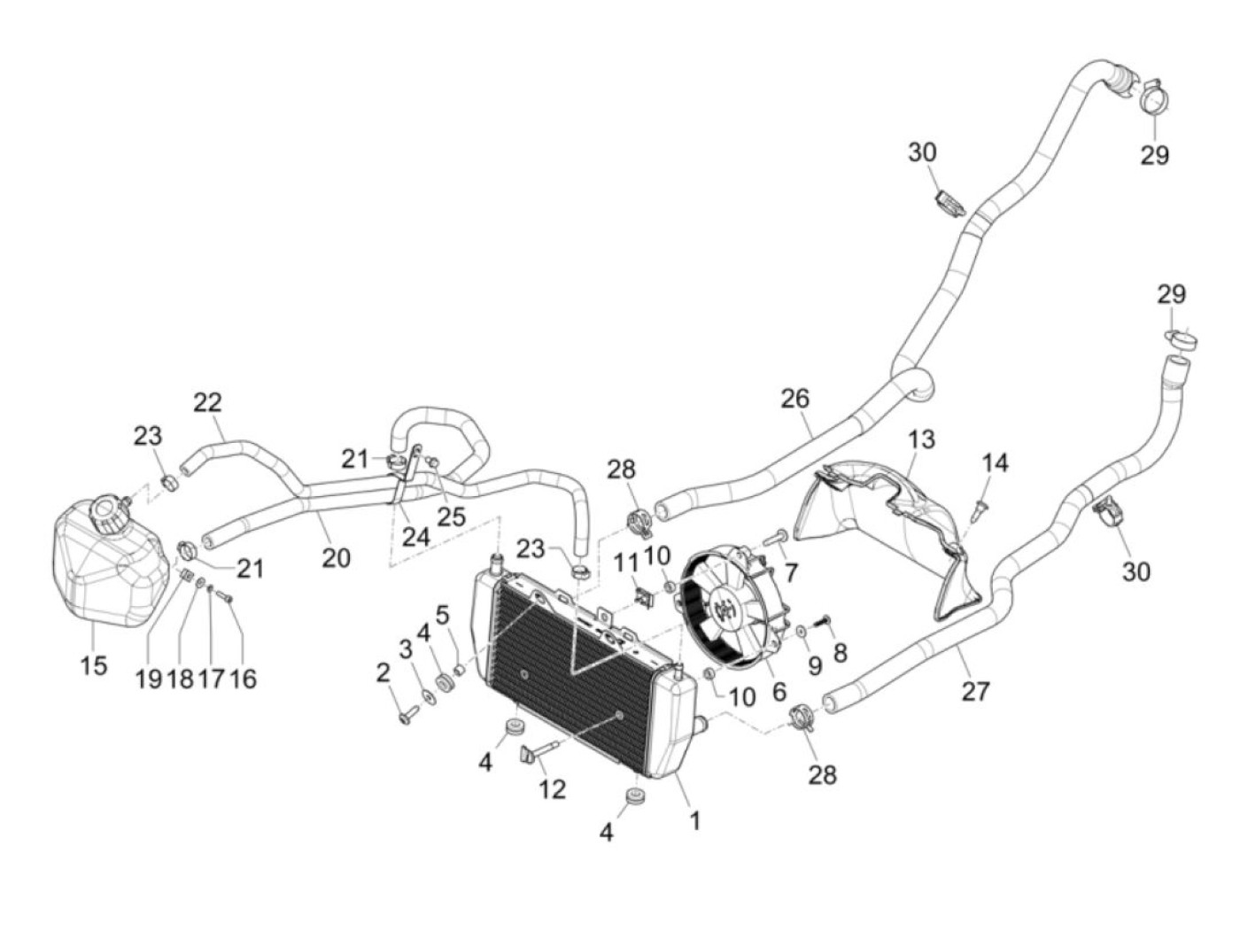
Kylare
Piaggio MP3 400 HPE RST Classic ABS (2022, ZAPTD3200)
Sortera