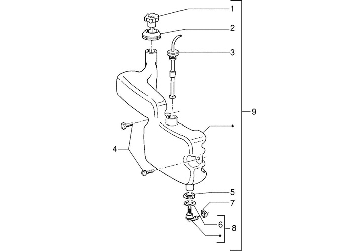
Oljetank
Piaggio NRG 50 Extreme DT (1999, ZAPC21000)
Sortera