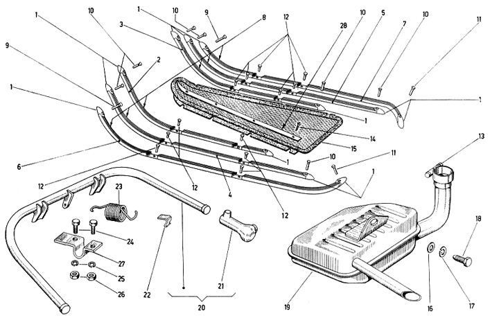
Fotstegar, Avgaser
Vespa 125 GTR (VNL2T)
Sortera