mycket bra
4.7 / 5
Portofritt från 99€ (DE)
Hög kundnöjdhet
Kontakt
|
Sekretess
|
AGB & Kundinformation
|
Impressum
Blog
DE | €
Mitt garage
Har du glömt ditt lösenord?
register
Skapa ett nytt kundkonto
0
Alla
Motor
Allt från Motor
Avgaser
Cylinder
Drive
Förgasare
Inloppsgrenrör & membran
Insprutningssystem
Koppling
Kylning
Luftfilter
Motor & hölje
Motorer
Reparationssats
Skruvar & smådelar
Start
Tändning
Tätningar
Växellåda
Vevaxel
Elektriskt system
Allt från Elektriskt system
Batterier
Belysning
Instrument
Kablar
Ljuskälla
Plug
Regulator, likriktare
Skruvar & smådelar
Startmotor
Strömbrytare
Tändning & generator
Tändstift
Ram och påbyggnadsdelar
Allt från Ram och påbyggnadsdelar
Bokstäver
Bränslesystem
Gafflar
Huvud- och sidostativ
Lager för styrhuvud
Panelerande delar
Sitsbänkar
Skruvar & smådelar
Stötdämpare
Styrstänger & beslag
Allt från Styrstänger & beslag
Broms och koppling
Handtag
Handtag för gasväxling
Instrument
Skruvar & smådelar
Spegel
Strömbrytare
Styren & kåpor
Bowdenkablar
Allt från Bowdenkablar
Bromsledningar
Kabeldrag & set
Kontrollelement
Spännnipplar & justerskruvar
Speedometerkablar
Tachodrivningar
Hjul
Allt från Hjul
Bromsar
Däck
Fälgar
Hjul
Slangar
Ventiler & smådelar
Service
Allt från Service
Filter
Oljor
Uppsättningar
V-rem
Verktyg
Olja & kemi
Allt från Olja & kemi
Driftsmaterial
Fetter & smörjmedel
Lacker och kulörer
Lim
Material till verkstaden
Oljor
Tätningsmedel
Vårdprodukter & rengöringsmedel
Tillbehör
Allt från Tillbehör
Bagagehållare
Drosselsatser & Varvtalsbegränsare
Litteratur
Merchandise
Mobiltelefonhållare och Tillbehör
Specialtillbehör
Stöldskydd
Sturbbågar
Topplåda
Väskor
Verkstadsinredning
Vindrutor
Hjälmar & kläder
Allt från Hjälmar & kläder
Glasögon & Visir
Handaskar
Hjälmar
Jackor & Byxor
T-shirt & skjortor
Tillbehör
Kuponger
Dagens tips
%
BGM PRO
Demonteringsverktyg hjulaxel framhjul -BGM PRO- Vespa 125 V1-V15, V30-33, VM1-2, VN1, VN2, VNA, VNB , 150 VL, VB, VBA, VBB, VLA1, VGL1, VGLA1, VGLB1, Super, GL, T4, Sprint, GT, GTR, Rally, TS, Motovespa (1959-1964) 125N, 125S, 150S
251,98 kr*
286,39 kr*
Klassisk Vespa
Motor
Allt från Motor
Avgaser
Cylinder
Drive
Förgasare
Inloppsgrenrör & membran
Koppling
Kylning
Luftfilter
Motor & hölje
Motorer
Revisionsuppsättning
Skruvar & smådelar
Start
Tändning
Tätningar
Växellåda
Vevaxel
Elektrisk Anläggning
Allt från Elektrisk Anläggning
Belysning
Instrument
Kablar
Ljuskälla
Misshandlare
Plug
Regulator, likriktare
Skruvar & smådelar
Startmotor
Strömbrytare
Tändning & agenerator
Tändstift
Chassi
Allt från Chassi
Bänkar
Bokstäver
Bränslesystem
Gafflar
Huvud- och sidostativ
Lager för styrhuvud
Panelerande delar
Skruvar & smådelar
Stötdämpare
Styren
Allt från Styren
Broms och koppling
Handtag
Handtag för gasväxling
Instrument
Skruvar & smådelar
Spegel
Strömbrytare
Styren & kåpor
Bowdenvajrar
Allt från Bowdenvajrar
Bromsledningar
Kabeldrag & set
Kontrollelement
Spännnipplar & justerskruvar
Speedometerkablar
Tachodrivning
Hjul
Allt från Hjul
Bromsar
Däck
Fälgar
Hjul
Slangar
Ventiler & smådelar
Service
Allt från Service
Filter
Oljor
Uppsättningar
Verktyg
Olja & Kemikalier
Allt från Olja & Kemikalier
Driftsmaterial
Fetter & smörjmedel
Lacker och kulörer
Lim och klister
Material till verkstaden
Oljor
Tätningsmedel
Vårdprodukter & rengöringsmedel
Tillbehör
Allt från Tillbehör
Bagagehållare
Hållare för mobiltelefoner & tillbehör
Handelsvaror
Litteratur
Särskilda tillbehör
Skyddsbåge
TopCase
Väskor
Verkstadsutrustning
Vindskydd
Hjälmar & Kläder
Allt från Hjälmar & Kläder
Glasögon & visir
Handskar
Hjälmar
Jackor & byxor
T-shirts & skjortor
Tillbehör
Dagens tips
LTH
Avgasrör -LTH-Box Road Racing- Vespa PX80, PX125, PX150 - för trimning av cylindrar 166cc, 172cc, 177cc, 187cc, 190cc - Svart
2058,78 kr*
Vespa Modern
Motor
Allt från Motor
Avgaser
Cylinder
Drive
Förgasare
Inloppsgrenrör & membran
Insprutningssystem
Koppling
Kylning
Luftfilter
Motor & hölje
Motorer
Revisionsuppsättning
Skruvar & smådelar
Start
Tändning
Tätningar
Växellåda
Vevaxel
Elektriskt system
Allt från Elektriskt system
Batterier
Belysning
Instrument
Kablar
Ljuskälla
Plug
Regulator, likriktare
Skruvar & smådelar
Startmotor
Strömbrytare
Tändning & generator
Tändstift
Chassi
Allt från Chassi
Bänkar
Bokstäver
Bränslesystem
Gafflar
Huvud- och sidostativ
Lager för styrhuvud
Panelerande delar
Skruvar & smådelar
Stötdämpare
Styrstänger & beslag
Allt från Styrstänger & beslag
Broms och koppling
Handtag
Handtag för gasväxling
Instrument
Skruvar & smådelar
Spegel
Strömbrytare
Styren & kåpor
Bowdenkablar
Allt från Bowdenkablar
Bromsledningar
Kabeldrag & set
Kontrollelement
Spännnipplar & justerskruvar
Speedometerkablar
Tachodrivning
Hjul
Allt från Hjul
Bromsar
Däck
Fälgar
Hjul
Slangar
Ventiler & smådelar
Service
Allt från Service
Filter
Oljor
Rengöringsmedel
Uppsättningar
V-rem
Verktyg
Olja & kemi
Allt från Olja & kemi
Driftsmaterial
Fetter & smörjmedel
Lacker och kulörer
Lim
Material till verkstaden
Oljor
Tätningsmedel
Vårdprodukter & rengöringsmedel
Tillbehör
Allt från Tillbehör
Bagagehållare
Hållare för mobiltelefoner & tillbehör
Handelsvaror
Litteratur
Särskilda tillbehör
Skyddsbåge
Stöldskydd
TopCase
Väskor
Verkstadsutrustning
Vindskydd
Hjälmar & kläder
Allt från Hjälmar & kläder
Glasögon & visir
Handskar
Hjälmar
Jackor & byxor
T-shirts & skjortor
Tillbehör
Dagens tips
Topp
Moto Nostra
Oljetråg med siktglas -MOTO NOSTRA- blank svart - Vespa GTS 310 (2024-) - Vespa GTS MP3 HPE 310 (2024-)
2173,80 kr*
Moped klassisk
Motor
Allt från Motor
Avgaser
Cylinder
Drive
Förgasare
Inloppsgrenrör & membran
Koppling
Kylning
Luftfilter
Motor & hölje
Revisionsuppsättning
Skruvar & smådelar
Start
Tändning
Tätningar
Växellåda
Vevaxel
Elektriskt system
Allt från Elektriskt system
Batterier
Belysning
Instrument
Kablar
Ljuskälla
Plug
Regulator, likriktare
Skruvar & smådelar
Strömbrytare
Tändning & generator
Tändstift
Ram och påbyggnadsdelar
Allt från Ram och påbyggnadsdelar
Bänkar
Bokstäver
Bränslesystem
Gafflar
Huvud- och sidostativ
Lager för styrhuvud
Panelerande delar
Skruvar & smådelar
Stötdämpare
Styrstänger & beslag
Allt från Styrstänger & beslag
Broms och koppling
Handtag
Handtag för gasväxling
Instrument
Skruvar & smådelar
Spegel
Strömbrytare
Styren & kåpor
Bowdenkablar
Allt från Bowdenkablar
Kabeldrag & set
Kontrollelement
Spännnipplar & justerskruvar
Speedometerkablar
Tachodrivning
Hjul
Allt från Hjul
Bromsar
Däck
Fälgar
Hjul
Slangar
Ventiler & smådelar
Service
Allt från Service
Filter
Oljor
Verktyg
Olja & kemi
Allt från Olja & kemi
Driftsmaterial
Fetter & smörjmedel
Lacker och kulörer
Lim och klister
Material till verkstaden
Oljor
Tätningsmedel
Vårdprodukter & rengöringsmedel
Tillbehör
Allt från Tillbehör
Bagagehållare
Handelsvaror
Litteratur
Särskilda tillbehör
Stöldskydd
Väskor
Verkstadsutrustning
Hjälmar & kläder
Allt från Hjälmar & kläder
Handskar
Hjälmar
T-shirts & skjortor
Tillbehör
Dagens tips
MC Proparts
Bussningssats -MC gaffelbussning- Ciao-gaffelns svängarmar, för justering och stabilisering av framhjulet
205,88 kr*
Lambretta
Motor
Allt från Motor
Avgaser
Cylinder
Drive
Förgasare
Inloppsgrenrör & membran
Kickstarter
Koppling
Kylning
Luftfilter
Motor & hölje
Revisionsuppsättningar
Skruvar & Smådelar
Tändning
Tätningar
Växellåda
Vevaxel
Elektriskt system
Allt från Elektriskt system
Batterier
Belysning
Instrument
Kabelhärvor
Ljuskälla
Plug
Regulator & likriktare
Skruvar & smådelar
Strömbrytare
Tändning & generator
Tändstift
Ram och påbyggnadsdelar
Allt från Ram och påbyggnadsdelar
Bänkar
Bokstäver
Bränslesystem
Gafflar
Huvudstativ
Lager för styrhuvud
Panelerande delar
Skruvar & smådelar
Stötdämpare
Styrstänger & beslag
Allt från Styrstänger & beslag
Broms och koppling
Handtag
Handtag för gasväxling
Instrument
Skruvar & smådelar
Spegel
Strömbrytare
Styren & kåpor
Bowdenkablar
Allt från Bowdenkablar
Bromsledningar
Kabeldrag & set
Kontrollelement
Spännnipplar & justerskruvar
Speedometerkablar
Tachodrivning
Hjul
Allt från Hjul
Bromsar
Däck
Fälgar
Hjul
Slangar
Ventiler & smådelar
Service
Allt från Service
Oljor
Rengöringsmedel
Uppsättningar
Verktyg
Olja & kemi
Allt från Olja & kemi
Driftsmaterial
Fetter & smörjmedel
Lacker och kulörer
Lim och klister
Material till verkstaden
Oljor
Tätningsmedel
Vårdprodukter & rengöringsmedel
Tillbehör
Allt från Tillbehör
Bagagehållare
Hållare för mobiltelefoner & tillbehör
Handelsvaror
Litteratur
Särskilda tillbehör
Skyddsbåge
Stöldskydd
Väskor
Verkstadsutrustning
Vindskydd
Hjälmar &; kläder
Allt från Hjälmar &; kläder
Handskar
Hjälmar
Jackor & byxor
T-shirts & skjortor
Tillbehör
Dagens tips
BGM PRO
Avgasrör -BGM PRO MZ30 Franspeed by Andy Francis Scooters- Lambretta Series 3 - utan ljuddämpare - svart - LI 125, LI 150, LiS 125, LiS 150, TV 175, SX, TV, GT, GP 125, 150, 200
5049,19 kr*
Skoter 50-850cc
Motor
Allt från Motor
Ansugsrör & Membran
Avgasrör
Bränsleinsprutningssystem
Cylinder
Drive
Förgasare
Koppling
Kylning
Luftfilter
Motorer
Motorhus
Reparationssats
Skruvar & Smådelar
Startmotor Kickstarter
Tändning
Tätningsmedel
Växellåda
Veaxell
Elektriskt system
Allt från Elektriskt system
Batterier
Belysning
Brytare
Instrument
Kabel
Kontaktdon
Ljuskälla
Regulator, Likriktare
Skruvar & Smådelar
Startmotor
Tändning & Generator
Tändstift
Ram och påbyggnadsdelar
Allt från Ram och påbyggnadsdelar
Bänkar
Bokstäver
Bränslesystem
Gafflar
Huvud- och sidostativ
Lager för styrhuvud
Panelerande delar
Skruvar & smådelar
Stötdämpare
Styrstänger & beslag
Allt från Styrstänger & beslag
Broms och koppling
Handtag
Handtag för gasväxling
Instrument
Skruvar & smådelar
Spegel
Strömbrytare
Styren & kåpor
Bowdenkablar
Allt från Bowdenkablar
Bromsledningar
Kabeldrag & set
Kontrollelement
Spännnipplar & justerskruvar
Speedometerkablar
Tachodrivning
Hjul
Allt från Hjul
Bromsar
Däck
Fälgar
Hjul
Slangar
Ventiler & smådelar
Service
Allt från Service
Filter
Kilrem
Oljor
Rengöringsmedel
Uppsättningar
Verktyg
Olja & kemi
Allt från Olja & kemi
Drivmedel
Fetter & smörjmedel
Lacker och kulörer
Lim och klister
Material till verkstaden
Oljor
Tätningsmedel
Vårdprodukter & rengöringsmedel
Tillbehör
Allt från Tillbehör
Bagagehållare
Drosselsatser & Varvtalsbegränsare
Handelsvaror
Litteratur
Mobiltelefonhållare och Tillbehör
Särskilda tillbehör
Stöldskydd
Sturbbågar
TopCase
Väskor
Verkstadsutrustning
Vindskydd
Hjälmar & kläder
Allt från Hjälmar & kläder
Glasögon & Visir
Handaskar
Hjälmar
Jackor & Byxor
T-shirts & skjortor
Tillbehör
Dagens tips
Pro Brake
Bromshandtagssats -PRO BRAKE- justerbar - Royal Alloy GP 125-300, TG 125-300 - guldglänsande
1138,66 kr*
Piaggio 350/400/500/530 4T LC
Beverly 400 (2007, ZAPM34300)
Luftfilter
Motor
Elektriskt system
Ram och påbyggnadsdelar
Styrstänger & beslag
Bowdenkablar
Hjul
Service
Olja & kemi
Tillbehör
Hjälmar & kläder
Piaggio Beverly 400 (2007, ZAPM34300)
Exploderade vyer
Avgasrör
Bagagehållare
Bagageutrymme
Bakåtspegel
Bakaxel
Bakfjädring
Baklykta
Batteri
Bowdenvajrar
Bränslepump
Bränsletank
Bromsanläggning
Brytare
Cylinder
Dekorationer
Drivande Remskiva
Drivna Remskivor
Drosselklappshus
Fotrymmslock
Framgaffel
Framhjul
Framskylt
Gaffelkomponenter
Generator
Hjälmfack
Hölje
Huvudställ
Kabelstam
Kylare
Låssats
Luftfilter
Motor
Oljefilter
Oljepump
Ram
Registreringsskylthållare
Regulator
Sadel
Sidokåpor
Skärm
Startmotor
Strålkastare
Styren
Styrslålock
Svängarmsfäste
Svingarm
Varvräknare
Vattenpump
Växellåda
Vejhuskapsel
Vejvaxel
Zylinderhuvud
Zylinderhuvuden
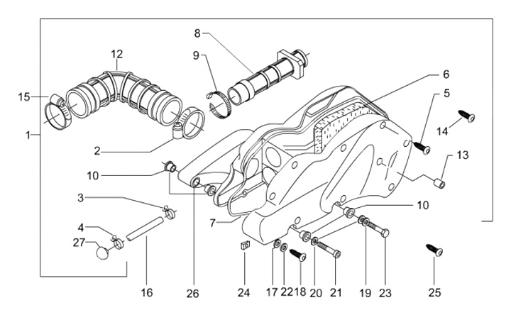
Luftfilter
Piaggio Beverly 400 (2007, ZAPM34300)
Komponentens namn
Plåtmutter
(1)
Plåtskruv
(1)
Uttag
(2)
Motorns tätning
(1)
Fjäderbricka
(1)
Del av gummi
(2)
Fäste
(1)
Luftfilter
(1)
Luftfilterhus
(1)
Klämringskragen
(1)
Slang
(1)
Slangklämmor
(4)
Skruv
(4)
Platt bricka
(3)
Tillverkare
Casa Lambretta
(1)
Normfest
(2)
Piaggio
(21)
Sortera
Relevans
Stigande priser
Priserna sjunker
Varumärke A-Z
Varumärke Z-A
Nyheter
Piaggio
GP873151
Luftfilterbox cpl. -PIAGGIO- Beverly 400-500, MP3 400-500, X8 400, XEvo 400, Gilera Fuoco 500, Aprilia Atlantc 400-500, Scarabeo Light 400-500
Piaggio
GP849589
Inloppsgrenrör -PIAGGIO- Gilera Fuoco
Leveransdatum
Piaggio
GP829543
Luftintag -PIAGGIO- Gilera Runner 125 VX
Piaggio
GP833965
Stickpropp -PIAGGIO- Gilera Fuoco
Piaggio
GP833628
Fäste -PIAGGIO- Gilera Fuoco
Leveransdatum
Piaggio
GP829259
Packning filterhus -PIAGGIO- Gilera Runner RST
Piaggio
GP829258
Luftfilterinsats -PIAGGIO- Piaggio 125 ccm Leader LC från 2006, Piaggio 200 ccm Leader LC från 2006, Piaggio 250 ccm Quasar/HPE, Piaggio 400-500 ccm Master
%
Piaggio
GP260918
Slangklämma, Ø=58-62,5mm -PIAGGIO-
Piaggio
GP965502
Distans -PIAGGIO- Gilera Fuoco
Piaggio
GPCM001926
Slangklämma 35-33 -PIAGGIO- Gilera Runner RST
Piaggio
GP016670
Bricka 4,5x12x1mm -PIAGGIO-
Piaggio
GP030052
Bult -PIAGGIO- Gilera Fuoco
Piaggio
GPCM001913
Slangklämma -PIAGGIO- Vespa LX
Piaggio
GP015761
Bult -PIAGGIO- Gilera Runner 125 VX
Piaggio
GPCM002908
Slangklämma -PIAGGIO- Ø = 10-13mm
Piaggio
GPCM001907
Slangklämma Ø=25,6mm (enkel öronklämma) -PIAGGIO- används för kylvattenslangar
Piaggio
GP018640
TC-skruv M6 x 50 -PIAGGIO- Vespa LX
%
Piaggio
GP830056
Bussning för luftfilterbox Øa = 15mm, Øi =6,7mm, h=5mm -PIAGGIO-
Piaggio
1254485
Plåtmutter -PIAGGIO- M6
Piaggio
3330467
Kryssskruv med försänkt huvud -DIN965- M3 x 18mm - Vespa PX Lusso, 98, My, 2011 - galvaniserad (används för startströmbrytare / startknapp / elektrisk startmotor)
1
2
×
×