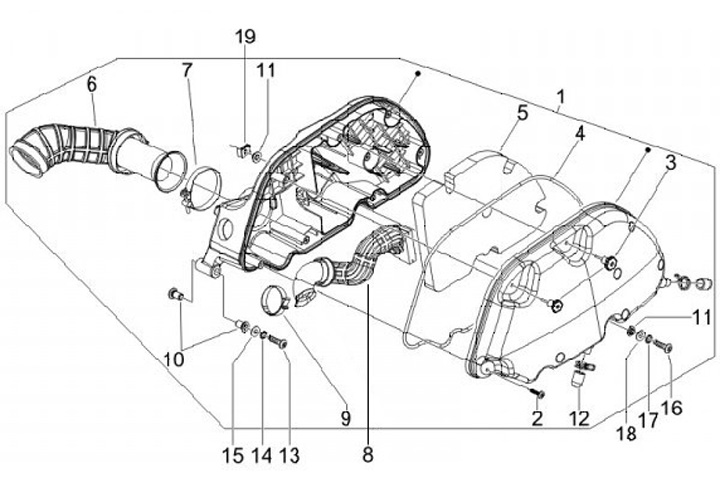
Luftfilter
Piaggio MP3 125 (2006, ZAPM47300)
Sortera