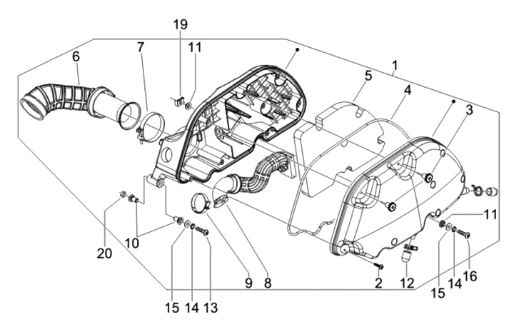
Luftfilter
Piaggio MP3 250 RL (2009, ZAPM47201)
Sortera