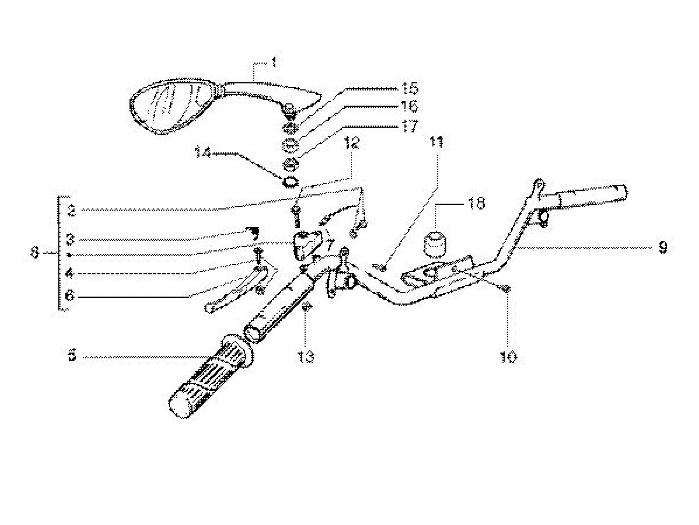
Vänsterstyre
Vespa ET4 125 (2003, ZAPM190001)
Sortera