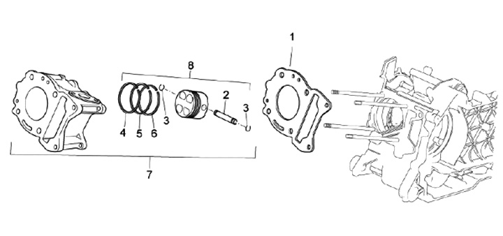
Gruppo termico
Aprilia Sport City 300 Street (2012, ZD4VBR)
Ordinamento