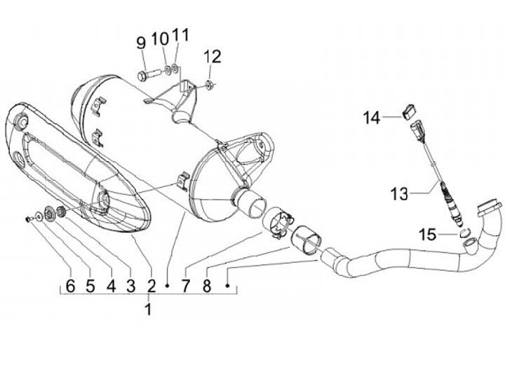
Marmitta
Piaggio MP3 250 (2006, ZAPM47201)
Ordinamento