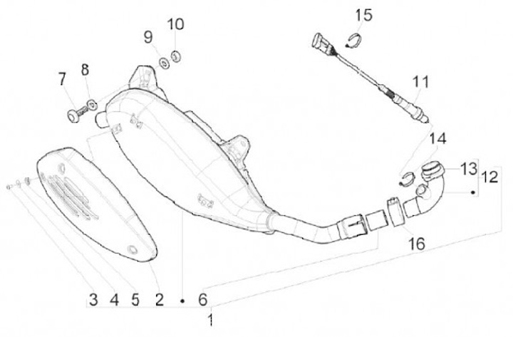
Marmitta
Vespa GTS 300ie Super Sport (2010, ZAPM45200)
Ordinamento