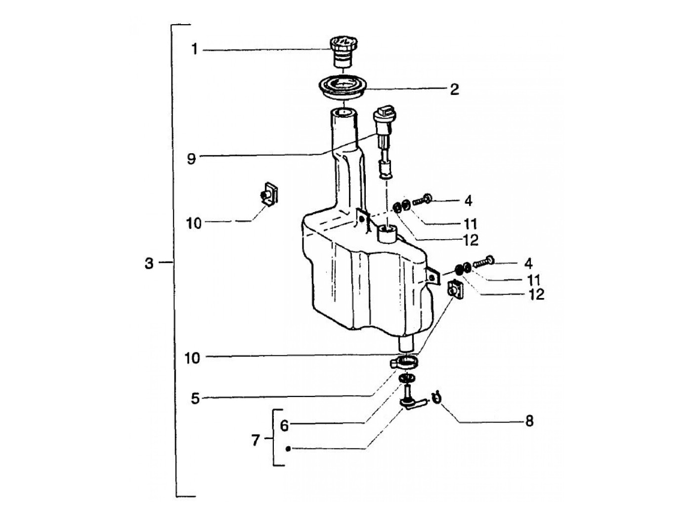
Serbatoio olio
Vespa ET2 50 (2000, ZAPC16000)
Ordinamento