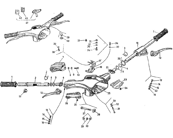
Stuur
Motovespa (ES) 150 S (Motor 502M)
Sorteer