mycket bra
4.7 / 5
Utskick idag med order i 11 h 19 min
Portofritt från 99€ (DE)
Hög kundnöjdhet
Kontakt
|
Sekretess
|
AGB & Kundinformation
|
Impressum
Utskick idag med order i 11 h 19 min
Blog
DE | €
Mitt fordon
Har du glömt ditt lösenord?
register
Skapa ett nytt kundkonto
0
Alla
Motor
Allt från Motor
Avgaser
Cylinder
Drive
Förgasare
Inloppsgrenrör & membran
Insprutningssystem
Koppling
Kylning
Luftfilter
Motor & hölje
Motorer
Reparationssats
Skruvar & smådelar
Start
Tändning
Tätningar
Växellåda
Vevaxel
Elektriskt system
Allt från Elektriskt system
Batterier
Belysning
Instrument
Kablar
Ljuskälla
Plug
Regulator, likriktare
Skruvar & smådelar
Startmotor
Strömbrytare
Tändning & generator
Tändstift
Ram och påbyggnadsdelar
Allt från Ram och påbyggnadsdelar
Bokstäver
Bränslesystem
Gafflar
Huvud- och sidostativ
Lager för styrhuvud
Panelerande delar
Sitsbänkar
Skruvar & smådelar
Stötdämpare
Styrstänger & beslag
Allt från Styrstänger & beslag
Broms och koppling
Handtag
Handtag för gasväxling
Instrument
Skruvar & smådelar
Spegel
Strömbrytare
Styren & kåpor
Bowdenkablar
Allt från Bowdenkablar
Bromsledningar
Kabeldrag & set
Kontrollelement
Spännnipplar & justerskruvar
Speedometerkablar
Tachodrivningar
Hjul
Allt från Hjul
Bromsar
Däck
Fälgar
Hjul
Slangar
Ventiler & smådelar
Service
Allt från Service
Filter
Oljor
Uppsättningar
V-rem
Verktyg
Olja & kemi
Allt från Olja & kemi
Driftsmaterial
Fetter & smörjmedel
Lacker och kulörer
Lim
Material till verkstaden
Oljor
Tätningsmedel
Vårdprodukter & rengöringsmedel
Tillbehör
Allt från Tillbehör
Bagagehållare
Drosselsatser & Varvtalsbegränsare
Litteratur
Merchandise
Mobiltelefonhållare och Tillbehör
Specialtillbehör
Stöldskydd
Sturbbågar
Topplåda
Väskor
Verkstadsinredning
Vindrutor
Hjälmar & kläder
Allt från Hjälmar & kläder
Glasögon & Visir
Handaskar
Hjälmar
Jackor & Byxor
T-shirt & skjortor
Tillbehör
Kuponger
Dagens tips
H-Tronic
Batteriladdare -H-TRONIC AL 300Pro- 2V, 6V, 12V
16,90 €*
Klassisk Vespa
Motor
Allt från Motor
Avgaser
Cylinder
Drive
Förgasare
Inloppsgrenrör & membran
Koppling
Kylning
Luftfilter
Motor & hölje
Motorer
Revisionsuppsättning
Skruvar & smådelar
Start
Tändning
Tätningar
Växellåda
Vevaxel
Elektrisk Anläggning
Allt från Elektrisk Anläggning
Belysning
Instrument
Kablar
Ljuskälla
Misshandlare
Plug
Regulator, likriktare
Skruvar & smådelar
Startmotor
Strömbrytare
Tändning & agenerator
Tändstift
Chassi
Allt från Chassi
Bänkar
Bokstäver
Bränslesystem
Gafflar
Huvud- och sidostativ
Lager för styrhuvud
Panelerande delar
Skruvar & smådelar
Stötdämpare
Styren
Allt från Styren
Broms och koppling
Handtag
Handtag för gasväxling
Instrument
Skruvar & smådelar
Spegel
Strömbrytare
Styren & kåpor
Bowdenvajrar
Allt från Bowdenvajrar
Bromsledningar
Kabeldrag & set
Kontrollelement
Spännnipplar & justerskruvar
Speedometerkablar
Tachodrivning
Hjul
Allt från Hjul
Bromsar
Däck
Fälgar
Hjul
Slangar
Ventiler & smådelar
Service
Allt från Service
Filter
Oljor
Uppsättningar
Verktyg
Olja & Kemikalier
Allt från Olja & Kemikalier
Driftsmaterial
Fetter & smörjmedel
Lacker och kulörer
Lim och klister
Material till verkstaden
Oljor
Tätningsmedel
Vårdprodukter & rengöringsmedel
Tillbehör
Allt från Tillbehör
Bagagehållare
Hållare för mobiltelefoner & tillbehör
Handelsvaror
Litteratur
Särskilda tillbehör
Skyddsbåge
TopCase
Väskor
Verkstadsutrustning
Vindskydd
Hjälmar & Kläder
Allt från Hjälmar & Kläder
Glasögon & visir
Handskar
Hjälmar
Jackor & byxor
T-shirts & skjortor
Tillbehör
Dagens tips
Ny
Topp
BGM PRO
Hjul -BGM Pro Superstrong tubeless 2.10-10 tum aluminium- Vespa V50, 50N, Special, PV, ET3, PK50-125 (S/XL/XL2), PX, T5, Sprint, Rally, GT/GTR, LML Star, Deluxe, Stella - svart matt
89,00 €*
Vespa Modern
Motor
Allt från Motor
Avgaser
Cylinder
Drive
Förgasare
Inloppsgrenrör & membran
Insprutningssystem
Koppling
Kylning
Luftfilter
Motor & hölje
Motorer
Revisionsuppsättning
Skruvar & smådelar
Start
Tändning
Tätningar
Växellåda
Vevaxel
Elektriskt system
Allt från Elektriskt system
Batterier
Belysning
Instrument
Kablar
Ljuskälla
Plug
Regulator, likriktare
Skruvar & smådelar
Startmotor
Strömbrytare
Tändning & generator
Tändstift
Chassi
Allt från Chassi
Bänkar
Bokstäver
Bränslesystem
Gafflar
Huvud- och sidostativ
Lager för styrhuvud
Panelerande delar
Skruvar & smådelar
Stötdämpare
Styrstänger & beslag
Allt från Styrstänger & beslag
Broms och koppling
Handtag
Handtag för gasväxling
Instrument
Skruvar & smådelar
Spegel
Strömbrytare
Styren & kåpor
Bowdenkablar
Allt från Bowdenkablar
Bromsledningar
Kabeldrag & set
Kontrollelement
Spännnipplar & justerskruvar
Speedometerkablar
Tachodrivning
Hjul
Allt från Hjul
Bromsar
Däck
Fälgar
Hjul
Slangar
Ventiler & smådelar
Service
Allt från Service
Filter
Oljor
Rengöringsmedel
Uppsättningar
V-rem
Verktyg
Olja & kemi
Allt från Olja & kemi
Driftsmaterial
Fetter & smörjmedel
Lacker och kulörer
Lim
Material till verkstaden
Oljor
Tätningsmedel
Vårdprodukter & rengöringsmedel
Tillbehör
Allt från Tillbehör
Bagagehållare
Hållare för mobiltelefoner & tillbehör
Handelsvaror
Litteratur
Särskilda tillbehör
Skyddsbåge
Stöldskydd
TopCase
Väskor
Verkstadsutrustning
Vindskydd
Hjälmar & kläder
Allt från Hjälmar & kläder
Glasögon & visir
Handskar
Hjälmar
Jackor & byxor
T-shirts & skjortor
Tillbehör
Dagens tips
Polini
CDI -POLINI ECM- Piaggio 50 ccm 4-takts (3-ventils) - Vespa Primavera 50 3V iGet (Euro5), Sprint 50 iGet (Euro5), Piaggio Liberty 50 iGet (Euro5)
265,00 €*
Moped klassisk
Motor
Allt från Motor
Avgaser
Cylinder
Drive
Förgasare
Inloppsgrenrör & membran
Koppling
Kylning
Luftfilter
Motor & hölje
Revisionsuppsättning
Skruvar & smådelar
Start
Tändning
Tätningar
Växellåda
Vevaxel
Elektriskt system
Allt från Elektriskt system
Batterier
Belysning
Instrument
Kablar
Ljuskälla
Plug
Regulator, likriktare
Skruvar & smådelar
Strömbrytare
Tändning & generator
Tändstift
Ram och påbyggnadsdelar
Allt från Ram och påbyggnadsdelar
Bänkar
Bokstäver
Bränslesystem
Gafflar
Huvud- och sidostativ
Lager för styrhuvud
Panelerande delar
Skruvar & smådelar
Stötdämpare
Styrstänger & beslag
Allt från Styrstänger & beslag
Broms och koppling
Handtag
Handtag för gasväxling
Instrument
Skruvar & smådelar
Spegel
Strömbrytare
Styren & kåpor
Bowdenkablar
Allt från Bowdenkablar
Kabeldrag & set
Kontrollelement
Spännnipplar & justerskruvar
Speedometerkablar
Tachodrivning
Hjul
Allt från Hjul
Bromsar
Däck
Fälgar
Hjul
Slangar
Ventiler & smådelar
Service
Allt från Service
Filter
Oljor
Verktyg
Olja & kemi
Allt från Olja & kemi
Driftsmaterial
Fetter & smörjmedel
Lacker och kulörer
Lim och klister
Material till verkstaden
Oljor
Tätningsmedel
Vårdprodukter & rengöringsmedel
Tillbehör
Allt från Tillbehör
Bagagehållare
Handelsvaror
Litteratur
Särskilda tillbehör
Stöldskydd
Väskor
Verkstadsutrustning
Hjälmar & kläder
Allt från Hjälmar & kläder
Handskar
Hjälmar
T-shirts & skjortor
Tillbehör
Dagens tips
BGM PRO
Kopplingsklocka -BGM PRO- Piaggio Ciao, Bravo, Boxer, Si - i ett stycke med kylflänsar, CNC-tillverkad i Tyskland, modeller med variator
129,00 €*
Lambretta
Motor
Allt från Motor
Avgaser
Cylinder
Drive
Förgasare
Inloppsgrenrör & membran
Kickstarter
Koppling
Kylning
Luftfilter
Motor & hölje
Revisionsuppsättningar
Skruvar & Smådelar
Tändning
Tätningar
Växellåda
Vevaxel
Elektriskt system
Allt från Elektriskt system
Batterier
Belysning
Instrument
Kabelhärvor
Ljuskälla
Plug
Regulator & likriktare
Skruvar & smådelar
Strömbrytare
Tändning & generator
Tändstift
Ram och påbyggnadsdelar
Allt från Ram och påbyggnadsdelar
Bänkar
Bokstäver
Bränslesystem
Gafflar
Huvudstativ
Lager för styrhuvud
Panelerande delar
Skruvar & smådelar
Stötdämpare
Styrstänger & beslag
Allt från Styrstänger & beslag
Broms och koppling
Handtag
Handtag för gasväxling
Instrument
Skruvar & smådelar
Spegel
Strömbrytare
Styren & kåpor
Bowdenkablar
Allt från Bowdenkablar
Bromsledningar
Kabeldrag & set
Kontrollelement
Spännnipplar & justerskruvar
Speedometerkablar
Tachodrivning
Hjul
Allt från Hjul
Bromsar
Däck
Fälgar
Hjul
Slangar
Ventiler & smådelar
Service
Allt från Service
Oljor
Rengöringsmedel
Uppsättningar
Verktyg
Olja & kemi
Allt från Olja & kemi
Driftsmaterial
Fetter & smörjmedel
Lacker och kulörer
Lim och klister
Material till verkstaden
Oljor
Tätningsmedel
Vårdprodukter & rengöringsmedel
Tillbehör
Allt från Tillbehör
Bagagehållare
Hållare för mobiltelefoner & tillbehör
Handelsvaror
Litteratur
Särskilda tillbehör
Skyddsbåge
Stöldskydd
Väskor
Verkstadsutrustning
Vindskydd
Hjälmar &; kläder
Allt från Hjälmar &; kläder
Handskar
Hjälmar
Jackor & byxor
T-shirts & skjortor
Tillbehör
Dagens tips
BGM PRO
Avgasrör -BGM PRO MZ30 Franspeed by Andy Francis Scooters- Lambretta Series 3 - utan ljuddämpare - svart - LI 125, LI 150, LiS 125, LiS 150, TV 175, SX, TV, GT, GP 125, 150, 200
439,00 €*
Skoter 50-850cc
Motor
Allt från Motor
Ansugsrör & Membran
Avgasrör
Bränsleinsprutningssystem
Cylinder
Drive
Förgasare
Koppling
Kylning
Luftfilter
Motorer
Motorhus
Reparationssats
Skruvar & Smådelar
Startmotor Kickstarter
Tändning
Tätningsmedel
Växellåda
Veaxell
Elektriskt system
Allt från Elektriskt system
Batterier
Belysning
Brytare
Instrument
Kabel
Kontaktdon
Ljuskälla
Regulator, Likriktare
Skruvar & Smådelar
Startmotor
Tändning & Generator
Tändstift
Ram och påbyggnadsdelar
Allt från Ram och påbyggnadsdelar
Bänkar
Bokstäver
Bränslesystem
Gafflar
Huvud- och sidostativ
Lager för styrhuvud
Panelerande delar
Skruvar & smådelar
Stötdämpare
Styrstänger & beslag
Allt från Styrstänger & beslag
Broms och koppling
Handtag
Handtag för gasväxling
Instrument
Skruvar & smådelar
Spegel
Strömbrytare
Styren & kåpor
Bowdenkablar
Allt från Bowdenkablar
Bromsledningar
Kabeldrag & set
Kontrollelement
Spännnipplar & justerskruvar
Speedometerkablar
Tachodrivning
Hjul
Allt från Hjul
Bromsar
Däck
Fälgar
Hjul
Slangar
Ventiler & smådelar
Service
Allt från Service
Filter
Kilrem
Oljor
Rengöringsmedel
Uppsättningar
Verktyg
Olja & kemi
Allt från Olja & kemi
Drivmedel
Fetter & smörjmedel
Lacker och kulörer
Lim och klister
Material till verkstaden
Oljor
Tätningsmedel
Vårdprodukter & rengöringsmedel
Tillbehör
Allt från Tillbehör
Bagagehållare
Drosselsatser & Varvtalsbegränsare
Handelsvaror
Litteratur
Mobiltelefonhållare och Tillbehör
Särskilda tillbehör
Stöldskydd
Sturbbågar
TopCase
Väskor
Verkstadsutrustning
Vindskydd
Hjälmar & kläder
Allt från Hjälmar & kläder
Glasögon & Visir
Handaskar
Hjälmar
Jackor & Byxor
T-shirts & skjortor
Tillbehör
Dagens tips
Pro Brake
Bromshandtagssats -PRO BRAKE- justerbar - Royal Alloy GP 125-300, TG 125-300 - glänsande svart
99,00 €*
Exploderade vyer
Gilera
Runner 50 RST Purejet SC (2006, ZAPC46200)
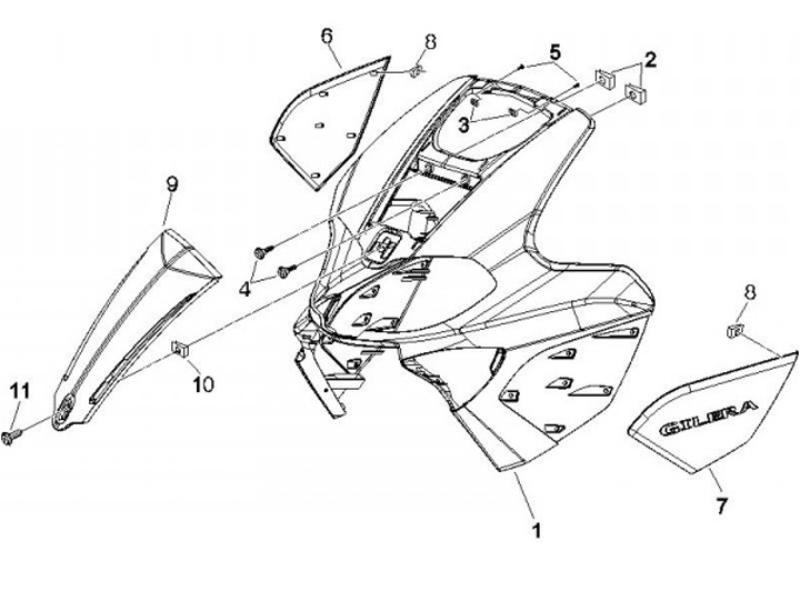
Frontschild
Motor
Elektriskt system
Ram och påbyggnadsdelar
Styrstänger & beslag
Bowdenkablar
Hjul
Service
Olja & kemi
Tillbehör
Hjälmar & kläder
Gilera Runner 50 RST Purejet SC (2006, ZAPC46200)
Exploderade vyer
Avgasrör
Bakåtspegel
Bakaxel
Bakfjädring
Baklykta - Blinkers
Bensskydd Inne
Bränslesystem
Bränsletank
Bromsok - Bromsledningar
Brytare
Dekorationer
Drivande Remskiva
Drivna Remskivor
Drosselklappshus
Fjärrströmbrytare - Batteri - Tut
Fotrymmslock
Framhjul
Framskylt
Gaswire - Sadelbänkwire
Generator
Hjälmfack
Hjulhus - Skärm
Hölje
Huvudställ
Instrumentgrupp
Kabelstam
Kylare
Luftfilter
Motor - Motordäcksats
Oljepump
Oljetank
Ram
Registreringsskylthållare
Regulator - Styrenhet - Tändspole
Sidokåpor - Spoiler
Sitsbank
Startmotor
Strålkastare - Blinkers
Styren - Huvudbromscylinder
Styrslålock
Svänghjulskåpa
Svingarm
Tändningslås
Telegaffel - Styr Lager Sats
Vattenpump
Växellåda
Vejhuskapsel
Vejvaxel
Zylinder - Kolv
Zylinderhuvud
Framskylt
Gilera Runner 50 RST Purejet SC (2006, ZAPC46200)
Komponentens namn
Plåtmutter
(2)
Plåtskruv
(1)
Fjädermutter
(1)
Kaskad
(1)
Skruv
(1)
Panelerande del
(3)
Tillverkare
Gilera
(4)
OEM-Qualität
(1)
Piaggio
(4)
Sortera
Relevans
Stigande priser
Priserna sjunker
Varumärke A-Z
Varumärke Z-A
Nyheter
Gilera
7670713
Frontkåpa -GILERA- Runner (från 2006) (ZAPC461, ZAPC462, ZAPM461, ZAPM462, ZAPM463, ZAPM464)
Gilera
7670716
Cascade -GILERA- Runner (från 2006) (ZAPC461, ZAPC462, ZAPM461, ZAPM462, ZAPM463, ZAPM464)
Gilera
7670715
Panel framtill på höger sida -GILERA- Runner (från 2006) (ZAPC461, ZAPC462, ZAPM461, ZAPM462, ZAPM463, ZAPM464)
Gilera
7670714
Panel framtill på vänster sida -GILERA- Runner (från 2006) (ZAPC461, ZAPC462, ZAPM461, ZAPM462, ZAPM463, ZAPM464)
Piaggio
1259830
Skruv för paneldelar 30mm med axel -PIAGGIO- Phillips huvud
OEM-Qualität
7672113
Fjädermutter -OEM KVALITET- Vespa (används för stänkskärmsnippel Rally180 (VSD1T), Rally200 (VSE1T), Sprint150 (VLB1T), GT125 (VNL2T), GTR125 (VNL2T), TS125 (VNL3T), GL150 (VLA1T), GS160 / GS4 (VSB1T), 180 SS, V50 Special)
Piaggio
4550009
Plåtmutter -PIAGGIO- Ø=4,2mm - 11x17mm (används för styrhuvud Vespa T5 125cc, Kaskade V50 Special)
Piaggio
7670277
Plåtskruv 4,2 x 13 mm -PIAGGIO- utan spets
Piaggio
1254485
Plåtmutter -PIAGGIO- M6
×
×