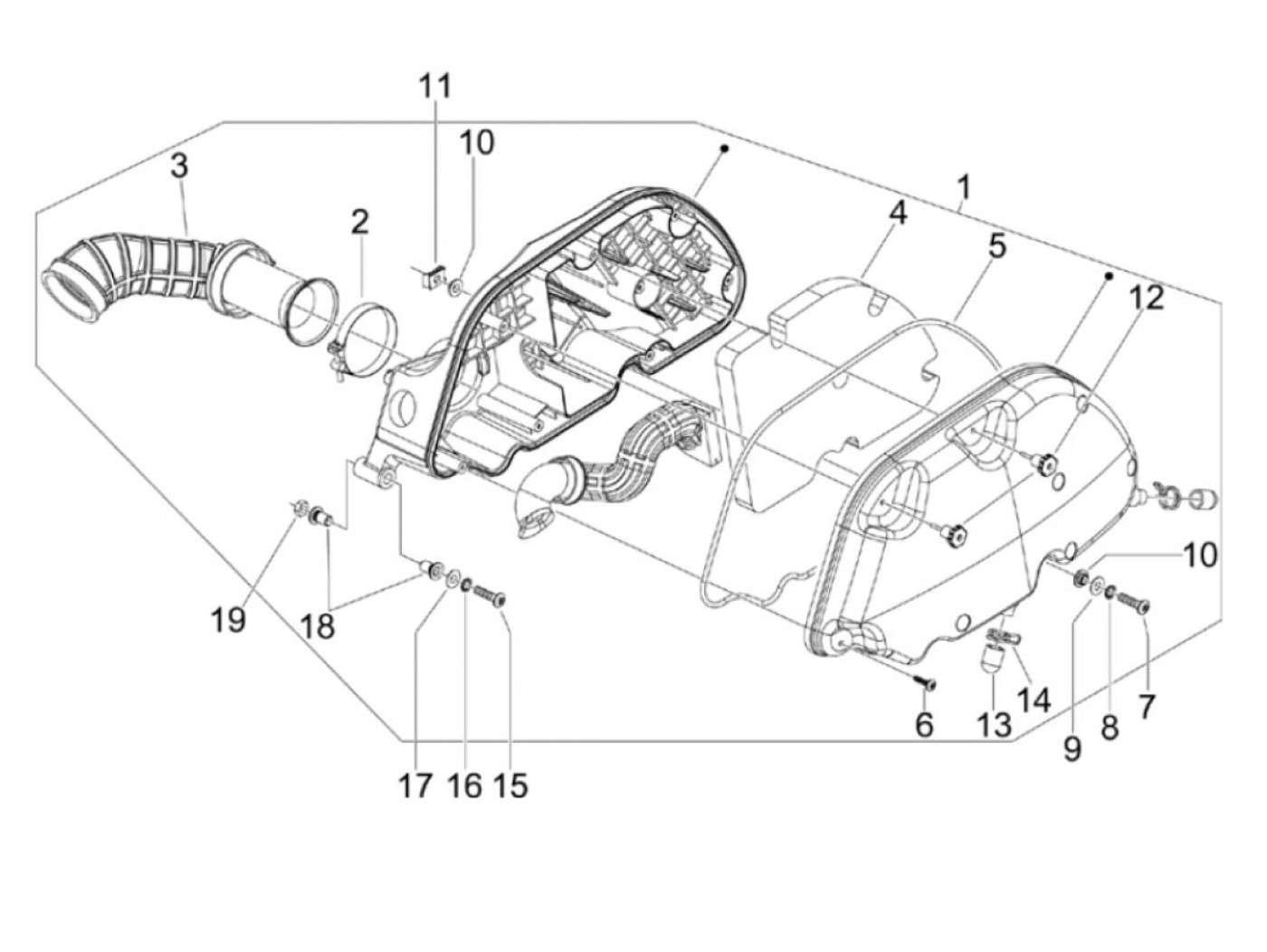
Luftfilter
Vespa GTS 300ie Touring (2015, ZAPM45202)
Sortera