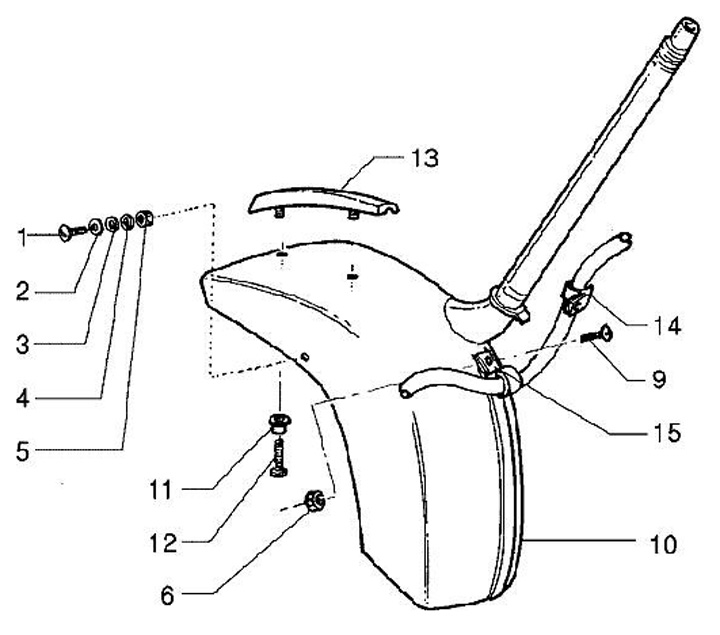
Skärm
Vespa PX 200 E Lusso (ZAPM18, 1998-)
Sortera