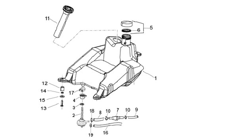
Bahan Bakar
Aprilia Sport City 50 One (2008-2010, ZD4SB)
Urutkan