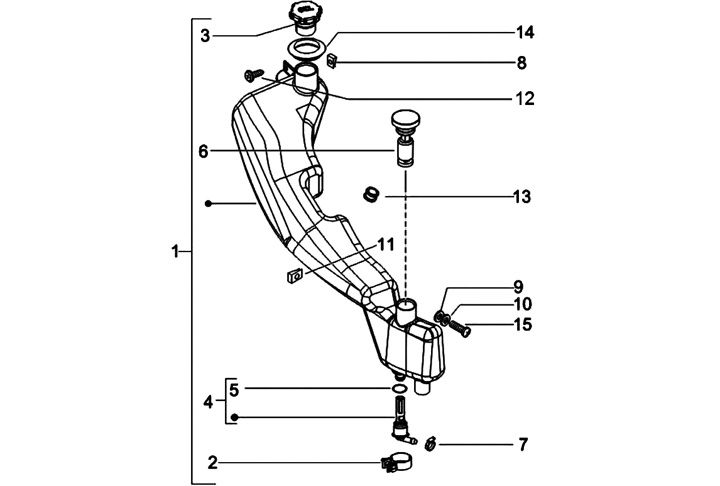
Oli Tangki
Piaggio NRG 50 Power DD (2013, ZAPC45100)
Urutkan