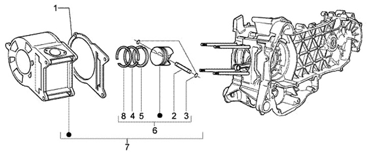
Silinder
Piaggio X8 125 (2004, ZAPM36300)
Urutkan