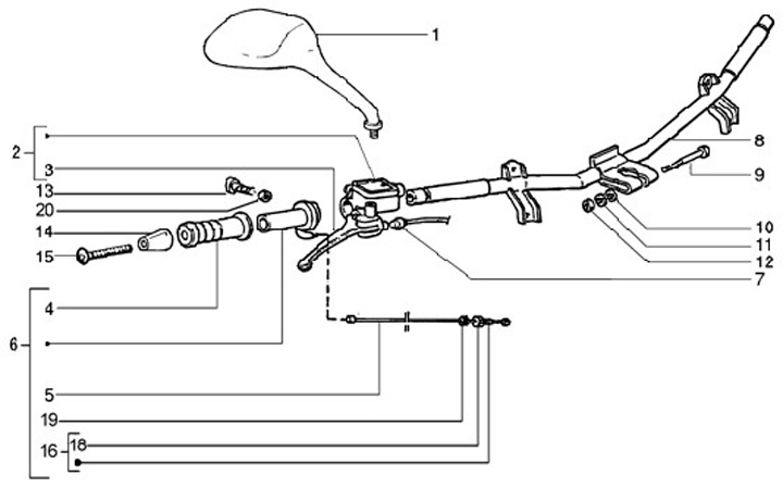
Commutatori dx
Gilera Runner 125 VX (2006, ZAPM24000)
Ordinamento