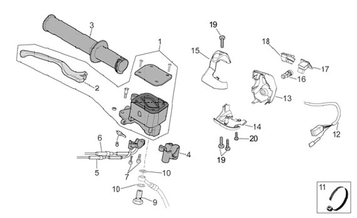
Commutatori dx
Aprilia Scarabeo Light 300 (2010, ZD4VRG00)
Ordinamento