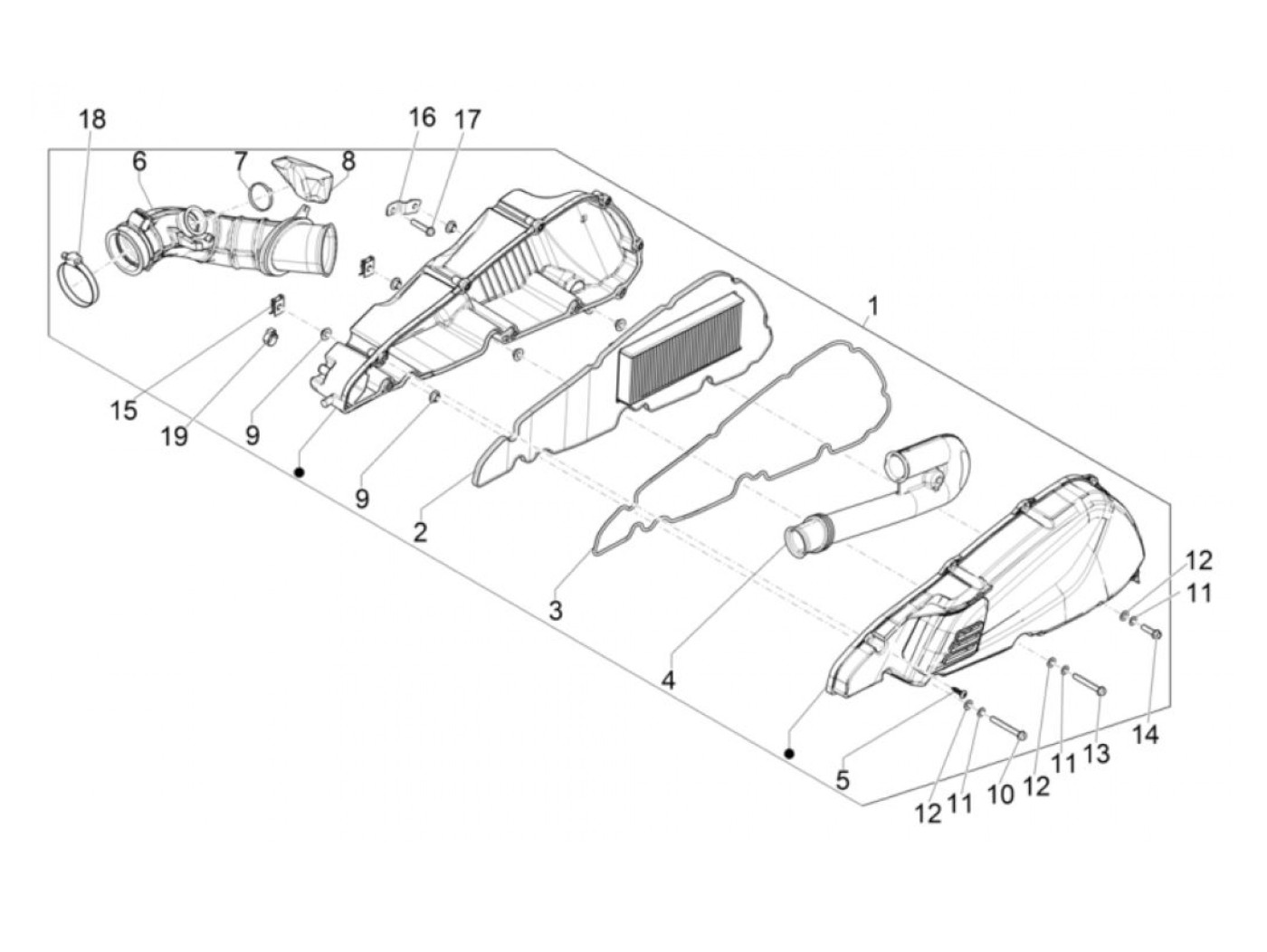
Filtro aria
Piaggio Beverly 400 HPE Sport (2021-2022, ZAPMD2200)
Ordinamento