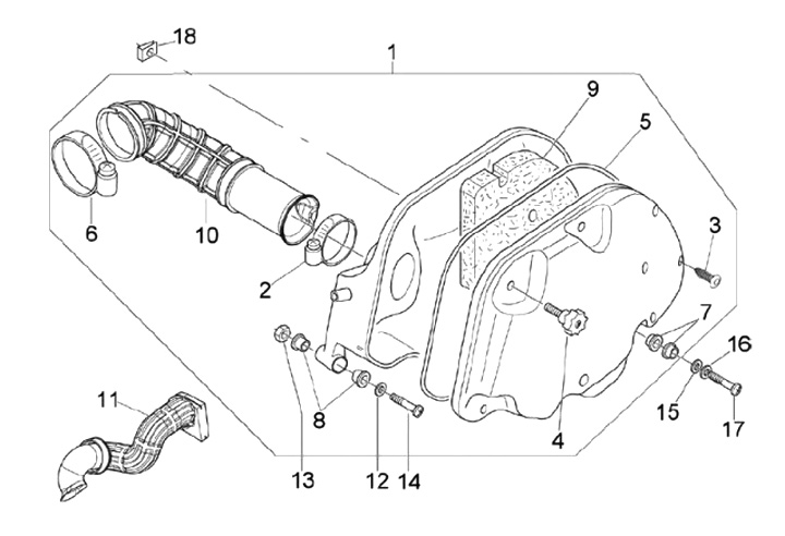
Filtro aria
Vespa GTS 250 (2011, ZAPM45100)
Ordinamento