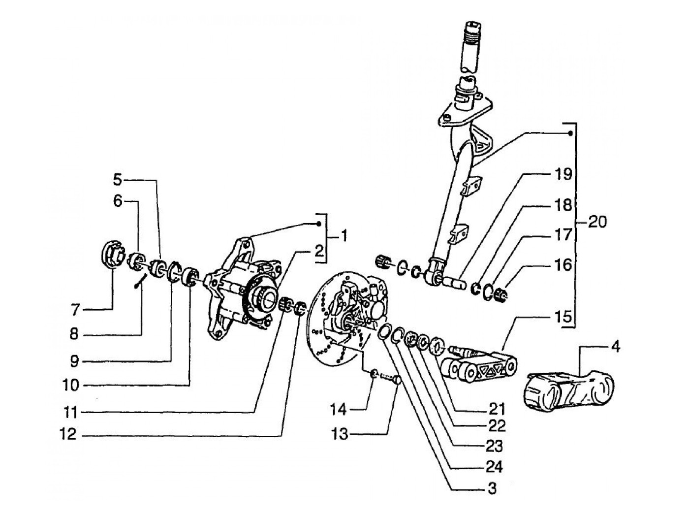
Forcella
Vespa ET2 50 (1998, ZAPC16000)
Ordinamento