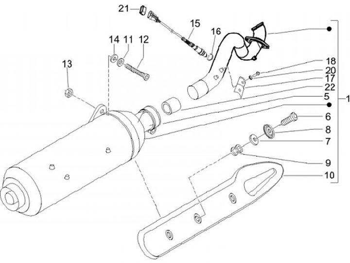
Marmitta
Gilera Nexus 250 (2006, ZAPM35300)
Ordinamento