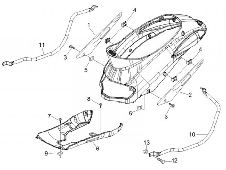
Spoiler
Piaggio Liberty 125 Sport (2006, ZAPM38601)
Ordinamento