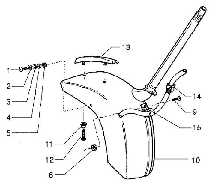
Skärm
Vespa PX 200 E Lusso (VSX1T, 1984-1997)
Sortera