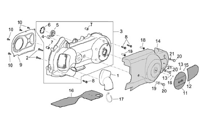
Engine casing cover
Aprilia Scarabeo 200 (2004-2006, ZD4TDA)
Sort