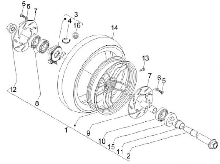
Front wheel
Gilera Nexus 500 Centenario (2012, ZAPM35200)
Sort