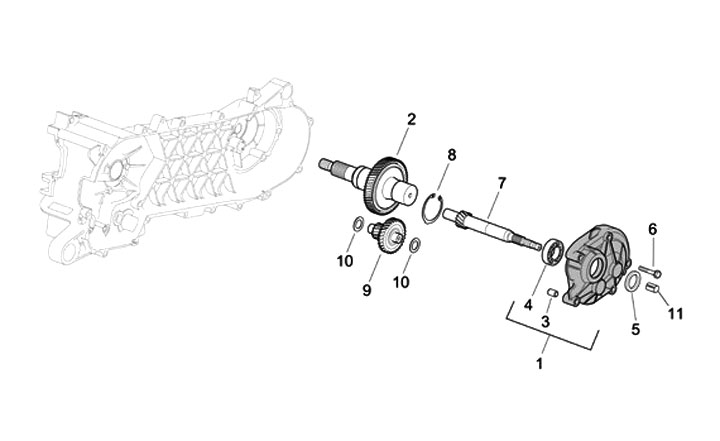
Gears
Aprilia SR 50 R Factory Di-Tech (2004-2014, ZD4VFB)
Sort