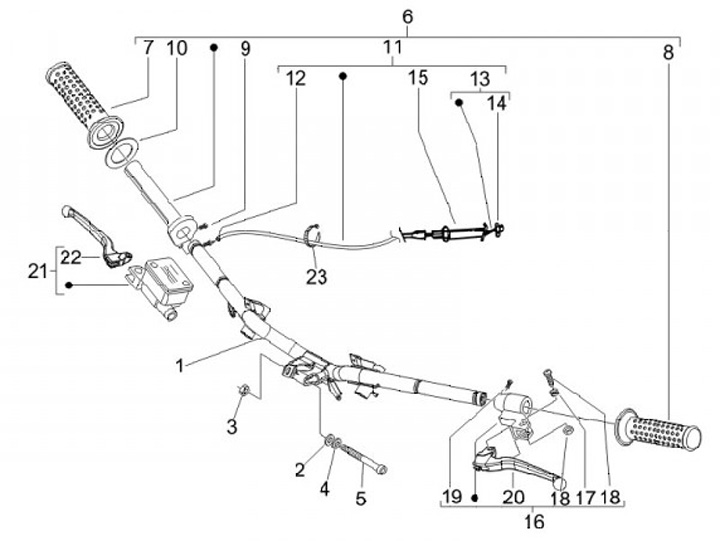
Handlebar
Piaggio Fly 50 (2-stroke, 2004, ZAPC44100)
Sort