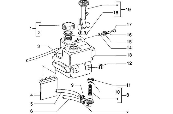
Bahan Bakar
Piaggio TPH 50 (2005, ZAPC29000)
Urutkan