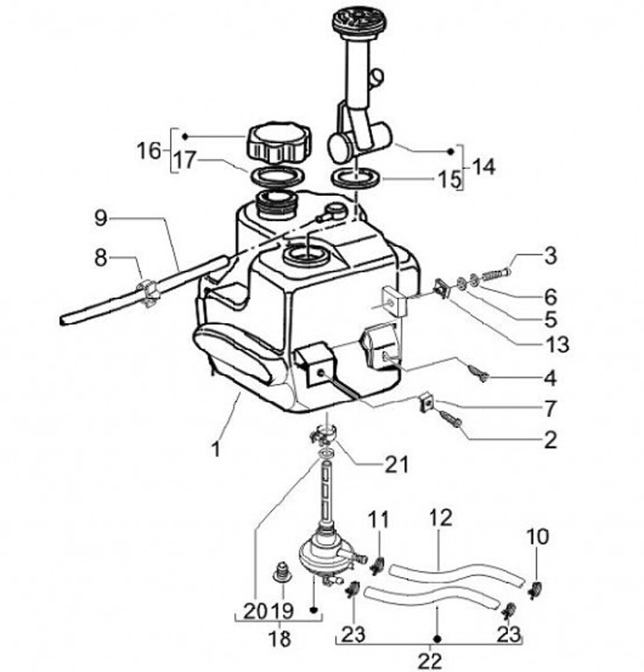
Bahan Bakar
Piaggio TPH 50 (2009-2011, LBMC48100)
Urutkan