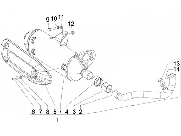
Knalpot
Piaggio Beverly 125 Tourer (2008, ZAPM28901)
Urutkan