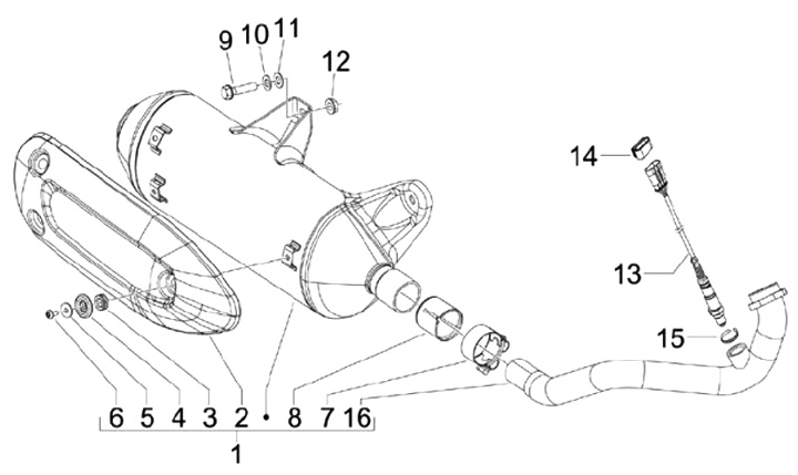
Knalpot
Piaggio MP3 300 Touring (2011, ZAPM63301)
Urutkan