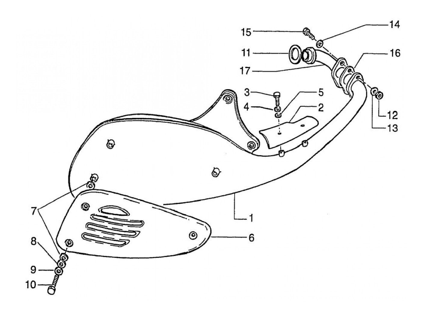
Knalpot
Vespa ET4 125 (1997, ZAPM04000)
Urutkan