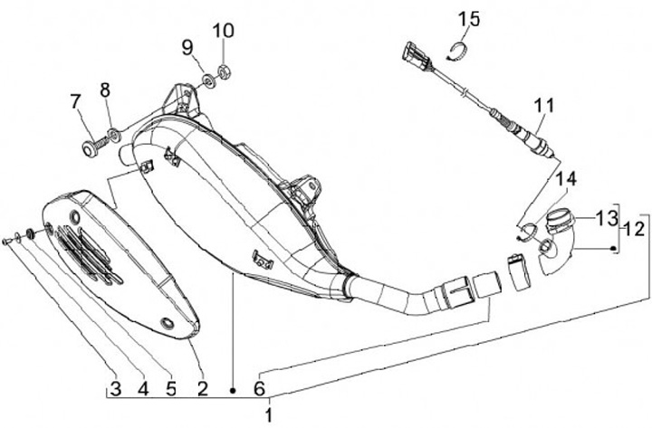
Knalpot
Vespa GTS 300ie Super Touring (2011, ZAPM45200)
Urutkan