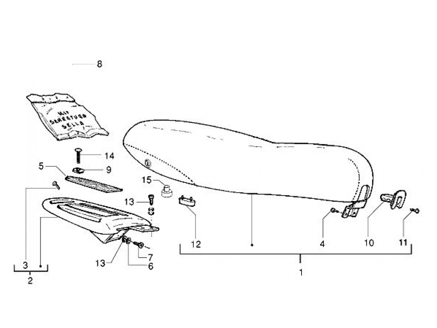
Kursi
Vespa ET4 50 (2001, ZAPC26000)
Urutkan