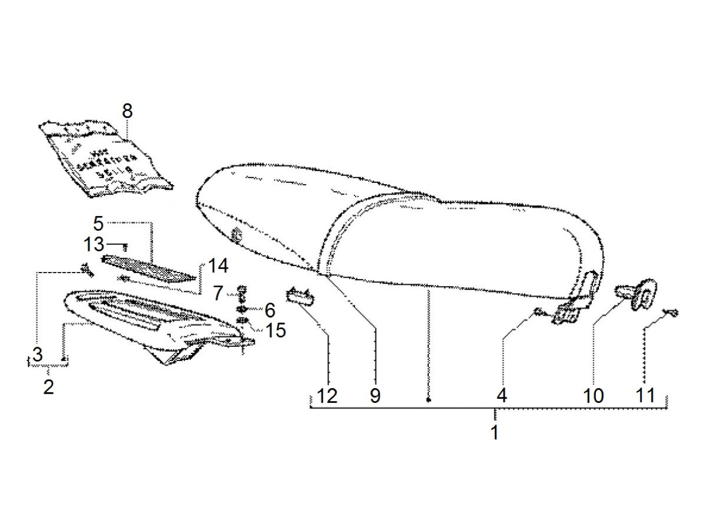
Kursi
Vespa ET4 150 (2004, ZAPM19000)
Urutkan