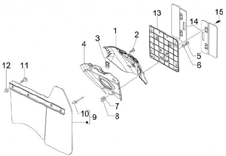
Plat Nomor
Vespa GTS 300ie Super Sport (2012, ZAPM45200)
Urutkan