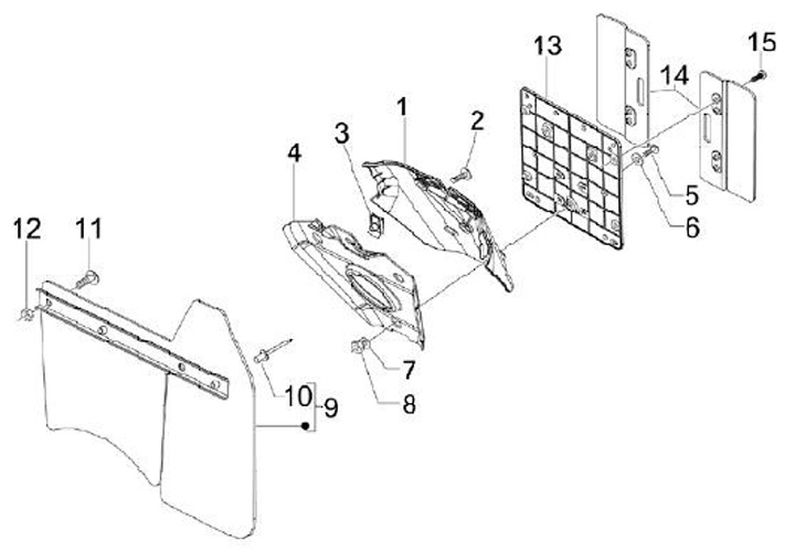
Plat Nomor
Vespa GTV 300ie (2013, ZAPM45201) Vie della Moda
Urutkan