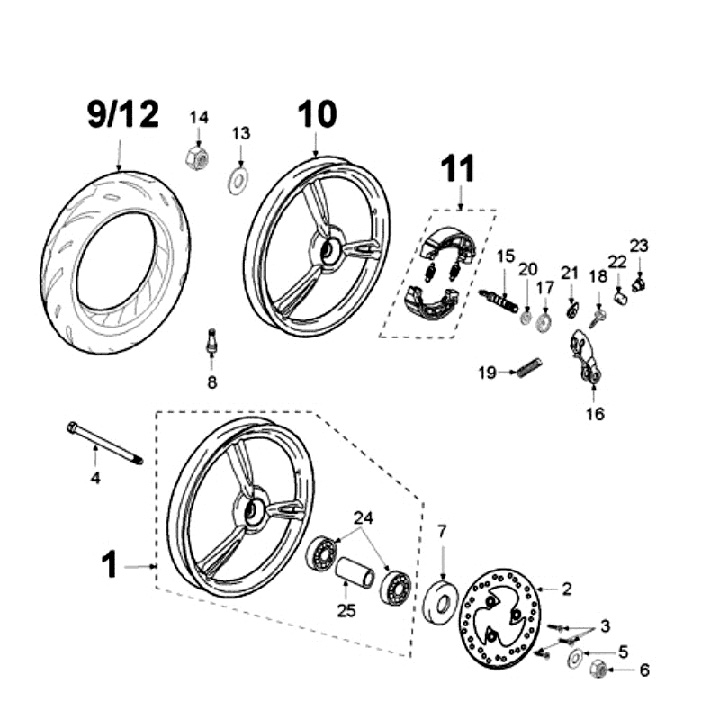
Roda
Peugeot Ludix 50 Pro (2005, VGAL1AABP, Typ RPRO) 14 Zoll
Urutkan