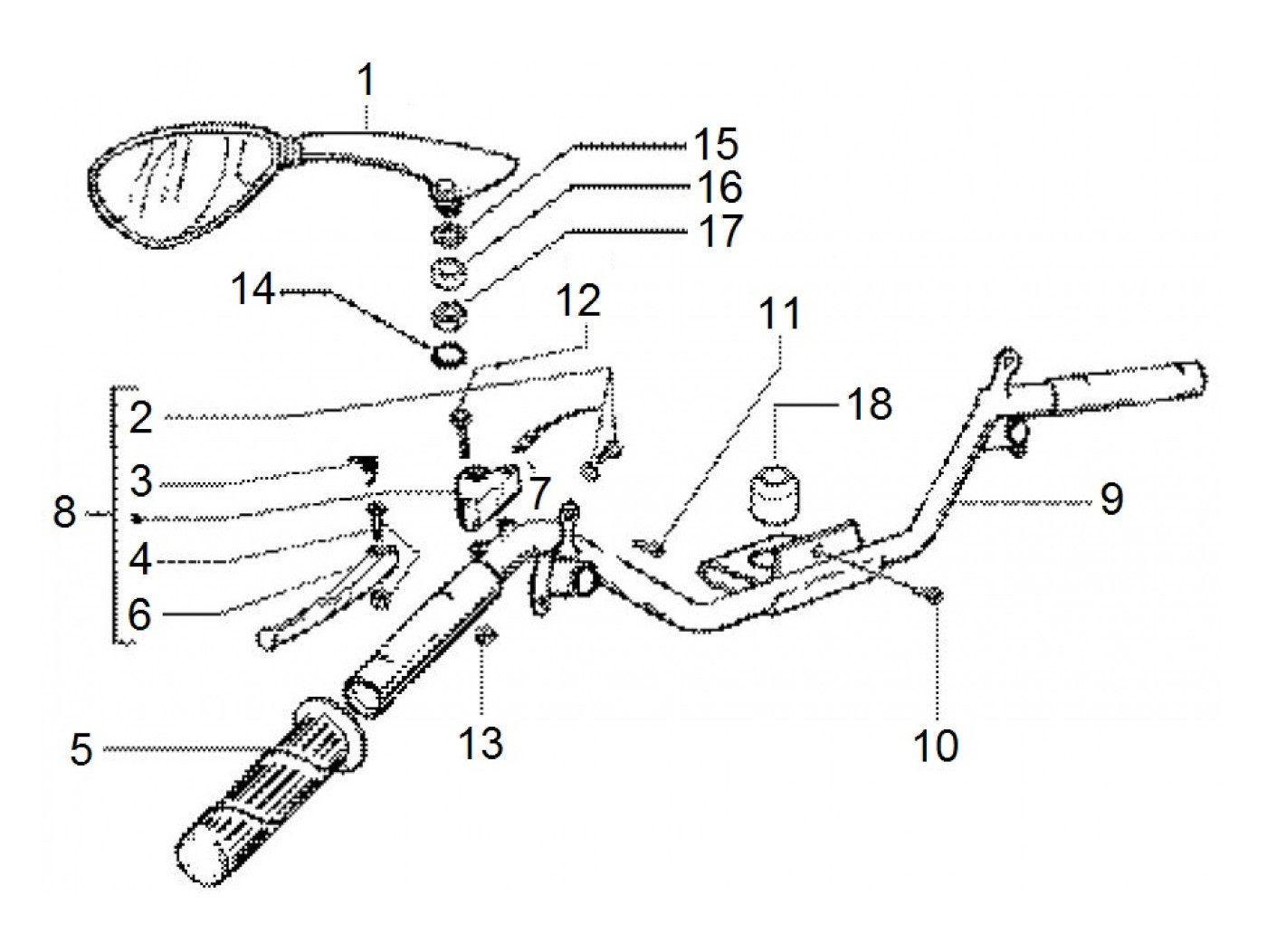
Setang Kiri
Vespa ET4 150 (2003, ZAPM19000)
Urutkan