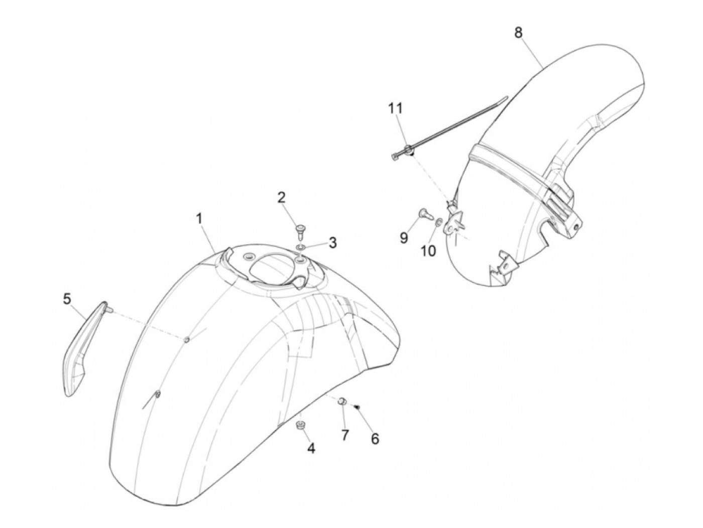
Spakbor
Vespa GTS 125 IGET (2019-2020, ZAPMA3700)
Urutkan