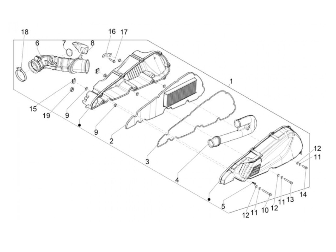
Udara Filter
Piaggio Beverly 400 HPE (2021-2022, ZAPMD2200)
Urutkan